发布日期:2024-05-27 10:05 点击次数:202


中证智能财讯春晖智控(300943)4月23日裸露2024年一季报。2024年第一季度,公司已矣贸易总收入1.18亿元,同比增长17.10%;归母净利润1164.46万元,同比下跌67.74%;扣非净利润1097.45万元,同比增长7.14%;看法举止产生的现款流量净额为-2485.63万元,上年同时为-4761.40万元;阐明期内,春晖智控基本每股收益为0.06元,加权平均净金钱收益率为1.22%。


2024年第一季度,公司毛利率为24.23%,同比高潮0.26个百分点;净利率为9.02%,较上年同时下跌26.06个百分点。

数据清晰,2024年第一季度公司加权平均净金钱收益率为1.22%,较上年同时下跌2.69个百分点;公司2024年第一季度参预成本通告率为0.91%,较上年同时下跌2.56个百分点。

2024年第一季度,公司看法举止现款流净额为-2485.63万元,同比增多2275.77万元;筹资举止现款流净额4290.84万元,同比增多4111.84万元;投资举止现款流净额-1055.65万元,上年同时为5914.26万元。

2024年第一季度,公司贸易收入现款比为83.57%,净现比为-213.46%。

金钱环节变化方面,为止2024年一季度末,公司其他应收款(含利息和股利)较上年末增多171.83%,占公司总金钱比重高潮0.82个百分点;存货较上年末减少7.78%,占公司总金钱比重下跌0.66个百分点;应收账款较上年末增多5.63%,占公司总金钱比重高潮0.57个百分点;始终股权投资较上年末减少6.77%,占公司总金钱比重下跌0.56个百分点。

欠债环节变化方面,为止2024年一季度末,公司叮属账款较上年末减少20.63%,占公司总金钱比重下跌2.31个百分点;公约欠债较上年末减少78.72%,占公司总金钱比重下跌0.65个百分点;叮属员工薪酬较上年末减少55.31%,占公司总金钱比重下跌0.62个百分点;应交税费较上年末减少64.97%,占公司总金钱比重下跌0.32个百分点。

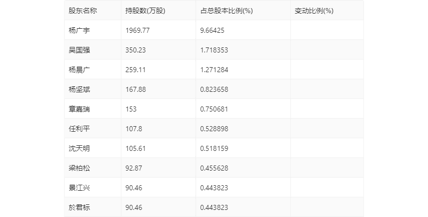
一季报清晰,2024年一季度末公司十大流畅鼓舞中,新进鼓舞为杨广宇、杨晨广、杨坚斌,取代了上年末的UBS AG、叶明忠、徐建霞。在具体抓股比例上,吴国强、任利平抓股有所高潮。

筹码王人集度方面,为止2024年一季度末,公司鼓舞总户数为1.59万户,较上年末下跌了116户,降幅0.73%;户均抓股市值由上年末的18.27万元下跌至15.18万元,降幅为16.91%。
著述开端:中国证券报·中证网著述作家:沈楠
原标题:春晖智控:2024年第一季度净利润1164.46万元 同比下跌67.74 24欧洲杯官网入口
]article_adlist--> 股市回暖,抄底炒股先开户!智能定投、条款单、个股雷达……送给你>>
海量资讯、精确解读,尽在新浪财经APP
Powered by 欧洲杯正规下单平台(官方)网站/网页版登录入口/手机版 @2013-2022 RSS地图 HTML地图